Confirmez la position d'installation de l'unité d'affichage

Les véhicules ne peuvent pas être installés

Une installation est possible si l'on peut éviter ce qui suit en réglant la position du curseur et la hauteur de l'affichage.

Les opérations du levier sont perturbées telles que le levier de changement de vitesse, le levier d'essuie-glace, le levier de clignotant lors de l'installation de l'unité.

Un interrupteur de détresse est caché sur le siège conducteur.

L'unité d'affichage heurte un panneau sur le véhicule.

  1. L'unité d'affichage peut se déplacer de 30 mm vers la gauche ou la droite. Elle peut être installée si elle n'interfère pas avec le fonctionnement du levier lors du déplacement.

Distance entre l'unité d'affichage et l'unité principale

Réglez la position du curseur et la hauteur d'affichage de manière à ne pas perturber le mouvement de l'affichage.

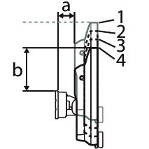
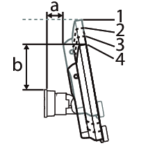
Position du curseur

Angle de l'affichage

-10°

45°

Position arrière

 

a

b

 

a

b

 

c

d

1

10,8

126,5

1

30,0

123,6

1

25,6

30,5

2

13,4

111,8

2

108,6

2

15,0

41,1

3

16,0

97,2

3

93,6

3

4,4

51,7

4

18,6

82,4

4

78,6

4

-6,2

62,3

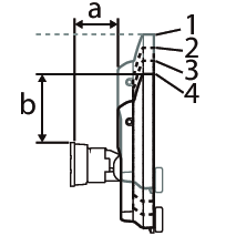
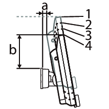
Position avant

 

a

b

 

a

b

 

c

d

1

29,8

126,5

1

49,0

123,6

1

44,6

30,5

2

32,4

111,8

2

108,6

2

34,0

41,1

3

35,0

97,2

3

93,6

3

23,4

51,7

4

37,6

82,4

4

78,6

4

12,8

62,3

Appareil : mm

Angles d'installation admissibles de l'unité principale

Installé horizontalement

Installé verticalement

À installer avec l'unité principale séparée de l'unité d'affichage.

  • Le câble d'extension KCA-A150EX (150 cm / 4,9 pieds, vendu séparément) est nécessaire pour connecter l'unité d'affichage (accessoire ).
  • [F] : Côté avant du véhicule
  • Tangage : 0° – 40° (horizontalement), ±20° (verticalement)
  • Roulis/Lacet : ±5°