Potwierdź pozycję montażową wyświetlacza

Pojazdy nie mogą być instalowane

Instalacja może być możliwa, jeśli można uniknąć następujących sytuacji poprzez dostosowanie położenia suwaka i wysokości wyświetlacza.

Podczas instalacji urządzenia są zakłócane operacje dźwigni, takie jak dźwignia zmiany biegów, dźwignia wycieraczek, dźwignia kierunkowskazów.

Wyłącznik awaryjny jest ukryty przed siedzeniem kierowcy.

Wyświetlacz uderza w panel pojazdu.

  1. Wyświetlacz może przesunąć się o 30 mm w lewo lub w prawo. Można go zamontować, jeśli nie przeszkadza w obsłudze dźwigni zmiany biegów podczas jej przesuwania.

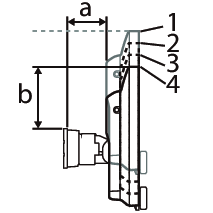
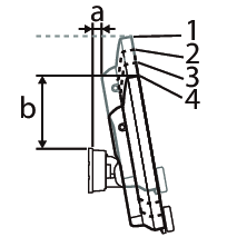
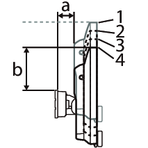
Odległość między wyświetlaczem a jednostką główną

Dostosuj położenie suwaka i wysokość wyświetlacza, aby nie zakłócały ruchu wyświetlacza.

Pozycja suwaka

Kąt wyświetlacza

-10°

45°

Pozycja tylna

 

a

b

 

a

b

 

c

d

1

10,8

126,5

1

30,0

123,6

1

25,6

30,5

2

13,4

111,8

2

108,6

2

15,0

41,1

3

16,0

97,2

3

93,6

3

4,4

51,7

4

18,6

82,4

4

78,6

4

-6,2

62,3

Pozycja przednia

 

a

b

 

a

b

 

c

d

1

29,8

126,5

1

49,0

123,6

1

44,6

30,5

2

32,4

111,8

2

108,6

2

34,0

41,1

3

35,0

97,2

3

93,6

3

23,4

51,7

4

37,6

82,4

4

78,6

4

12,8

62,3

Urządzenie: mm

Dopuszczalne kąty instalacji jednostki głównej

Instalacja poziomo

Instalacja pionowo

Instalacja z jednostką główną oddzieloną od jednostki wyświetlacza

  • KCA-A150EX Kabel przedłużający (150 cm / 4,9 ft, sprzedawany oddzielnie) jest wymagany do podłączenia wyświetlacza (akcesorium ).
  • [F] : Przód pojazdu
  • Pochylenie : 0° – 40° (poziomo), ±20° (pionowo)
  • Przechylenie/Odchylenie : ±5°